1.產品簡介
CBB60電容器也叫CBB60型電機啟動運行電容器,采用金屬化聚丙烯膜材料作為介質和電極,用pvc塑殼或金屬鋁殼和環氧樹脂密封,單向引出結構,其阻燃特性符合UL-94標準,具有損耗小、抗濕性強、電性能優良、可靠性好、容量大、使用壽命長和良好自愈性能。
2.技術參數
產品型號:CBB60
容量范圍:1μF~125μF
允許偏差:±5%(J)
額定電壓:630V、500V、450V、400V、350V、300V、250V
耐壓值:2.0Un(2S)
損耗角正切值:tgδ≤10×10 -4(23℃,f=100Hz 1v)
絕緣電阻:Cn×Rs≥3000S(23℃,100VDC,1min)
溫度系數:-40 ~ +85℃
應用范圍:交流馬達啟動、運行
外形:圓柱形
引出方式:軟線、端子
品牌:世格·SHIGE
介質材料:金屬化有機薄膜
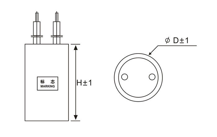
3.規格尺寸
CBB60型啟動運行電容器規格尺寸表(450VAC系列) | ||||||||
序號 | 額定容量 | 產品尺寸 | 序號 | 額定容量 | 產品尺寸 | |||
Cn(μF) | ΦD(mm) | H(mm) | Cn(μF) | ΦD(mm) | H(mm) | |||
1 | 2.0μF | 26 | 52 | 16 | 26μF | 42 | 76 | |
2 | 3.5μF | 26 | 52 | 17 | 28μF | 46 | 79 | |
3 | 4.0μF | 25 | 65 | 18 | 30μF | 46 | 79 | |
4 | 5.0μF | 25 | 65 | 19 | 32μF | 46 | 79 | |
5 | 6.0μF | 30.5 | 53 | 20 | 35μF | 46 | 94 | |
6 | 8.0μF | 30.5 | 53 | 21 | 40μF | 46 | 94 | |
7 | 9.0μF | 30.5 | 53 | 22 | 50μF | 51 | 100 | |
8 | 10μF | 30.5 | 70 | 23 | 60μF | 56 | 100 | |
9 | 12μF | 30.5 | 70 | 24 | 70μF | 58 | 100 | |
10 | 15μF | 34 | 70 | 25 | 80μF | 61 | 100 | |
11 | 16μF | 34 | 70 | 26 | 90μF | 66 | 100 | |
12 | 18μF | 35.5 | 71 | 27 | 100μF | 68 | 100 | |
13 | 20μF | 40 | 70 | 28 | 120μF | 65 | 120 | |
14 | 23μF | 42 | 73 | 29 | 125μF | 65 | 120 | |
15 | 25μF | 42 | 76 | 30 | ||||
備注 | 以上產品為常用容量,常規狀態為:底部平,塑殼封裝,阻燃環氧樹脂灌封,軟線外露100mm | |||||||
引出方式還可采用插片、護套線/電纜線等 | ||||||||
4.外形尺寸

5.典型應用電路

6.產品用途
CBB60型電容器廣泛應用于使用50/60Hz頻率的交流電源供電的水泵、清洗機、洗衣機、空壓機等各種設備內單相交流電動機的啟動和運轉。
7.生產設備

8.生產工藝流程

9.生產廠家優勢
①集CBB60電容器的設計、研發、生產和銷售為一體;
②提供完善的售前、售中、售后等一整套服務,讓用戶享受上帝般的感覺;
③技術研發實力雄厚,制造工藝成熟完善;
④重點材料采用國內大公司生產或進口的,生產設備已實現90%以上的自動化;
⑤為更好的服務廣大客戶,按時完成訂單,急單可在三天內完成和發貨。
10.產品質量管理
①公司擁有一支實力強大經驗豐富的產品質量保障隊伍;
②所有關鍵的原材料在進入工廠以后都需要經過嚴格的檢驗;
③每批產品都要經過3道質保關卡,即首檢、巡檢和入庫檢驗;
④所有CBB60電容器經過成品檢測合格后才可以進入倉庫。
浙公網安備33028302000762號